关于我们 | 技术讲座 | 电子控制 | 螺纹插装阀 | 齿轮泵/马达/分流器 | 多功能集成阀/多路换向阀 | 新技术应用 | 应用示例 | 联系我们 | 资料下载
 
返回首页
English>>
 
   
   
 PWM-01-MPC1-D PWM-01-MPC1-P PWM-A2-MPC1-P PWM-P2-MP**-P PWM-02-MPC2-H
 
     
 
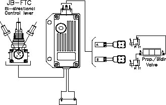
EC-PWM-02-MPC2-H 比例放大器(单通道双向2个比例阀)


PWM电子放大器用于单通道双向二个比例电磁阀的开环控制,可与电位器等其它控制系统配套使用。

技术参数:

  • 工作电压: 8-32 VDC
  • 最大电量损耗: 100 mA (无负载)
  • 工作温度: -25°C / + 85°C
  • 环境密封保护等级: IP67("H"型)
  • 比例输入信号:0-5V
  • 输入阻抗: 50 kOhm
  • 放大电流范围(PWM): 100-1800 mA
  • 震颤频率: 55-200Hz
  • 线性精度: 100%
  • RAMP升降可调时间: 0-3 sec

调整(采用5个多圈电位器):

. A阀最大电流
. B阀最大电流
. 中位(死区的对称性)

"H" 型(金属外壳,平面安装)

 

性能特点:

EC-PWM-MPC2脉宽调制电流放大控制器为单一比例压力阀、比例流量阀和比例溢流阀设计。输出电流的大小不受比例电磁线圈的电阻变化及输入电压的波动所影响,随比例摇杆的角度及相应输入电压的大小比例而变化,在一定的电压范围内保持正常比例输出。

叠加于放大电路的震颤信号可以减少阀件之间的摩擦,防止阀件卡死,改善比例阀的特性.

放大器在阀全负荷关/启的状态下实施输出电路的启动/关闭,使输出电路的电压降低到最少。

应用实例:

订货型号: EC- PWM - 02 - MPC2 - H

 

[ 产品样本]  
 
     
 
版权所有 © 英德康自动化设备有限公司